亂世王者王城升級需要滿足哪些條件?升22城前置條件是什么?下面小編給大家帶來了詳細的攻略解讀,幫助你更好的馳聘戰場。

一、升22城條件
城墻:每級都是需要的,所以城墻就不說了,比如你要升級3級主城,那么你要先把城墻升級到2級。
前置建筑:3級伐木場、4級農田、5級倉庫、7級太史院、8級征兵處、9級倉庫、10級醫館、11級車兵營、13級弓兵營、14級陷阱作坊、15級寶石礦、16級鐵礦、18級大使館、20級伐木場、22級步兵營、23級騎兵營、24級太史院、25級大使館、26級倉庫、27級步兵營、28級車兵營、29級弓兵營。
2級、7級、13級、18級、20級、22級,這幾個等級是不需要前置的建筑的,所以升級是非常快的,也就是說前面的話升級22城是非常快的,只要你有資源,因為這里很多個不用前置的,后面的話一個前置都要7天的時間,所以后面的23-30是最難升的,也就是說你的主城升級之路才剛剛開始。
主城升級前置建筑表:

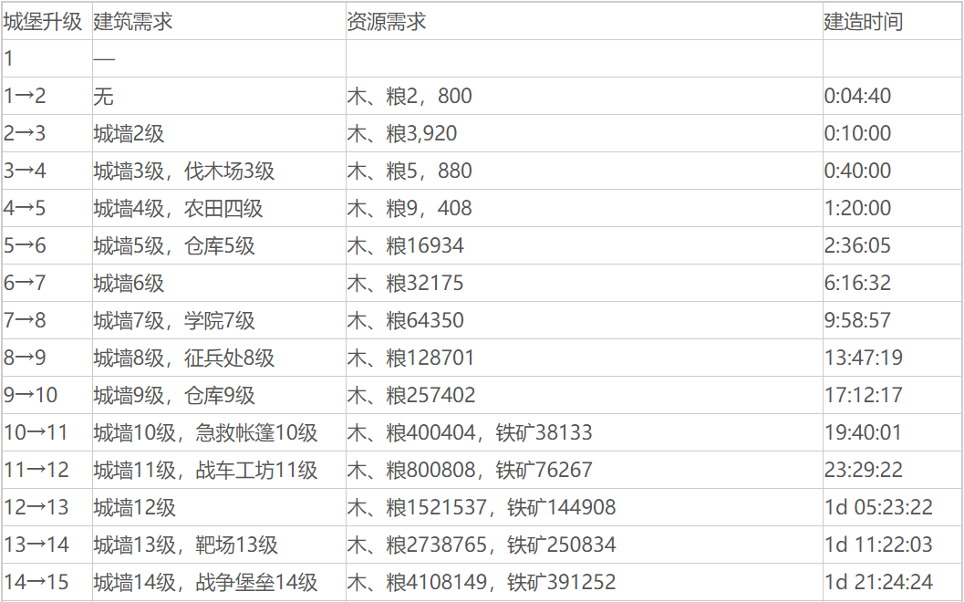
主城建筑升級時間資源表:

二、升堡條件表


更多資訊敬請關注視游手游網亂世王者專區內容!
亂世王者
策略游戲7.2分
亂世王者是騰訊首款創新三國戰爭的戰爭策略手游,在這里你將與與全部的兵士一起角逐帝位。實時實戰體驗,三...
抵制不良游戲 拒絕盜版游戲 注意自我保護 謹防受騙上當 適度游戲益腦 沉迷游戲傷身 合理安排時間 享受健康生活